Introduction: From Sound Sensing to Intelligent Interaction
As voice interfaces become a core part of smart wearables, IoT devices, and always-on electronics, the challenge is no longer just capturing sound — it’s processing voice locally with ultra-low power consumption.
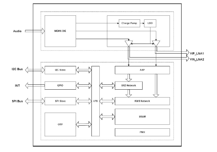
The WBC-HRA381-M10 Smart MEMS Microphone from Wuxi Silicon Source Technology Co., Ltd. (SISTC) integrates sound sensing, analog preprocessing, and AI inference into a single compact module, enabling offline voice activity detection (VAD) and keyword spotting (KWS) at micro-watt power levels.
This article explores how Smart MEMS microphones redefine voice interaction for next-generation edge devices.

What Is a Smart MEMS Microphone?
A Smart MEMS microphone goes beyond traditional analog or digital microphones. It integrates:
- A high-performance MEMS sensor
- Analog Signal Processing (ASP)
- An always-on low-power neural processor
- Embedded voice intelligence
This allows voice detection and wake-word recognition to happen locally, without waking the main SoC or sending audio to the cloud.
The WBC-HRA381-M10 is a representative example of this new class of intelligent acoustic sensors.
👉 Learn more about SISTC Smart MEMS Microphones:
Internal link: https://sistc.com/product/smart-mems-microphone/
Key Features of WBC-HRA381-M10 Smart MEMS Microphone
High-Performance Acoustic Front-End
- Package size: 3.5 × 2.65 × 1.0 mm
- 65 dBA SNR for clear voice capture
- 127 dB SPL AOP, suitable for loud environments
- Sensitivity tolerance: ±1 dB
This ensures excellent audio quality even before AI processing begins.
Built-In Neural Processing Unit (NPU)
Unlike conventional microphones, WBC-HRA381-M10 integrates dual AI engines:
- LP-NPU (Always-On)
- Binary neural network (BNN)
- Ultra-low-power Voice Activity Detection (VAD)
- Always active at ~70 µA
- Main NPU
- CNN-based architecture
- Supports Keyword Spotting (KWS) with up to 30 keywords
- Activated only when needed to minimize power consumption
This hierarchical AI design is ideal for battery-powered and always-listening devices.
External reference:
Voice Activity Detection (VAD): https://en.wikipedia.org/wiki/Voice_activity_detection
Keyword Spotting (KWS): https://en.wikipedia.org/wiki/Keyword_spotting
Ultra-Low-Power Voice Wake-Up Modes
The Smart MEMS microphone supports three intelligent operating modes:
1️⃣ VAD Mode (Always-On Listening)
- Power consumption: ~70 µA
- Detects human voice presence
- Triggers an interrupt to wake the host MCU
2️⃣ KWS Mode (Continuous Recognition)
- Power consumption: ~160 µA
- Continuous keyword recognition
- Ideal for command-based interaction
3️⃣ VAD + KWS Hybrid Mode (Recommended)
- VAD runs continuously at ultra-low power
- KWS is triggered only after voice detection
- Achieves optimal power-to-performance ratio
This architecture significantly extends battery life in wearables and IoT products.
Edge AI: Why On-Device Voice Processing Matters
Running voice AI locally at the sensor level brings multiple advantages:
- Instant response (no cloud latency)
- Lower system power consumption
- Improved privacy (no audio streaming)
- Offline operation
Smart MEMS microphones like WBC-HRA381-M10 enable true edge AI, shifting intelligence closer to the physical world.
External reference:
Edge AI overview: https://en.wikipedia.org/wiki/Edge_computing
Typical Applications
The WBC-HRA381-M10 Smart MEMS Microphone is well-suited for:
- TWS earbuds & headphones
- Smartwatches and fitness wearables
- AR / VR glasses
- Smart home voice interfaces
- Mobile devices
- Always-on IoT sensors
Its compact size and ultra-low power consumption make it especially attractive for space-constrained, battery-powered designs.
Conclusion: A New Generation of Intelligent Acoustic Sensors
By integrating MEMS sensing, analog preprocessing, and AI inference into a single module, the WBC-HRA381-M10 Smart MEMS Microphone represents a major step forward in voice interface design.
For product developers looking to enable always-on voice interaction with minimal power impact, Smart MEMS microphones are no longer optional — they are essential.
👉 Explore the product page:
https://sistc.com/product/smart-mems-microphone/


